Description
Our most popular air compressor piston/cylinder kit for long-style connecting rod. Includes piston/rod assembly, cylinder, o-ring gaskets, and bearing.
Simple to install. Will restore compression to like-new condition.
Replacement Piston Ring #1166D7
WATCH VIDEO PRIOR TO INSTALLATION
PLEASE READ ALL DETAILS BEFORE ORDERING...
If you have a V Twin unit, this will fit those units that used this same kit on both sides (requires a spacer washer). A spacer washer between the eccentric and the rod is required. It allows the connecting rod to line up with the cast cylinder housing. If not, the cylinder cup is too close to the motor.
If you have a V Twin unit that used a different high-pressure kit on one side, this will only fit the low-pressure (LP) side.
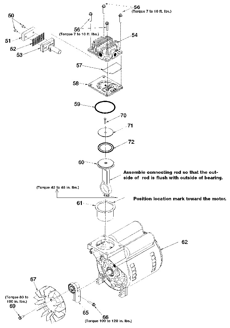
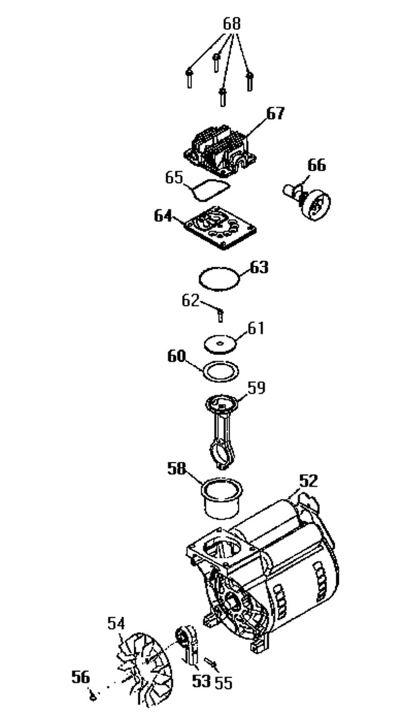
IMPORTANT! This new conrod does not have a bolt that fastens it to the eccentric shaft. It is a press-on fit.
This kit must be assembled with the convex side facing inward (as shown in the image below).
Installing it backwards can result in a 2mm offset, which may cause shear forces during operation and could lead to breakage.

Specifications
- Cylinder ID: 2 3/8"
- Connecting rod length: 5 3/4"
- Cylinder depth: approx. 2"
- Casting may say ACG-1, CAV 3, or Patent 5.231.917 (measure yours first)
6 Reviews
-
Good kit
The kit fit and works great. I would have given this a 5 star rating if there were written instructions on the order of installation. My guessing on the order was wrong and I had to uninstall things a couple times.
-
Cylinder repair kit
I was very happy with the way it fit. I'm happy using it now as my compressor is up after sitting for 15 years! it's like it's new, I had to substitute your ring on my cylinder, and it worked fine. ( I didn't want to knock the bearing off even though I could have, because it would have fit my shaft ) ...my bearing was fine. thank you for all your help.
-
CONNECTING RODS
DURING INSTALLATION I FOUND THAT THE CONNECT RODS WERE .0625 THICKER THAN THE ORIGINAL PARTS, WHEN TIGHTNING THE NUT ON THE MOTOR SHAFT THE RODS WOULD LOCK UP. THE FACTORY SPACER WAS NOT THICK ENOUGH FOR YOUR OVERSIZE RODS. I CALL YOU CUST SERVICE AND WAS TOLD I NEEDED AN ACG-9 SPACER SEEMS TO ME THAT SHOULD HAVE BEEN INFORMATION INCLUDED WITH YOUR PARTS THAT DID NOT FIT PROPERLY. I WASTED TIME TRYING FIND THE PROBLEM NOW HAVE TO WAIT A FEW MORE DAYS TO GET MY COMPRESSOR RUNNING. NOT HAPPY
-
Air compressor piston/cylinder kit
Parts were shipped promptly and priced reasonably. Very good experience. Will be doing business with this company again
-
AIR COMPRESSOR PISTON / CYLINDER KIT WITH BEARING #116692
Perfect fit. Worked perfectly once installed. Lacks any instructions at all. But it is unlikely you would be trying this repair without a strong mechanical skill set.
Extra Details
The following is a partial list of Porter Cable Portable Air Compressor model numbers that are using the KK-4835 Oil free connecting rod replacement kit. These Oil-Free Air Compressors were sold under the Porter Cable brand name and were sold by various stores including Home Depot, Lowes, Menards, Ace Hardware, Costco, Walmart, Sams Club, Sears, Carter Lumber, and other fine retailers throughout the country:
Porter Cable C2150 2.0HP 4 Gallon Oil Free Air Compressor
Porter Cable C2150-1 2.0HP 4 Gallon Oil Free Air Compressor
Porter Cable C3101-1 50PSI 4 Gallon Oil Free Air Compressor
Porter Cable C3101-2 50PSI 4 Gallon Oil Free Air Compressor
Porter Cable C3150 3.5HP 4.5 Gallon Oil Free Air Compressor
Porter Cable C3150-1 3.5HP 4.5 Gallon Oil Free Air Compressor
Porter Cable C3151 3.5HP 4.5 Gallon Oil Free Air Compressor
Porter Cable C3151-1 3.5HP 4.5 Gallon Oil Free Air Compressor
Porter Cable C3151-2 3.5HP 4.5 Gallon Oil Free Air Compressor
Porter Cable C5100 4.5HP 20 Gallon Oil Free Air Compressor
Porter Cable C5100-1 4.5HP 20 Gallon Oil Free Air Compressor
Porter Cable C5101 1.7HP 20 Gallon Oil Free Air Compressor
Porter Cable C5101-2 1.7HP 20 Gallon Oil Free Air Compressor
Porter Cable C6110 150PSI 25 Gallon Oil Free Air Compressor
Porter Cable CF1500 1.5 HP 4 Gallon Oil Free Air Compressor
Porter Cable CF2400 2.0 HP 4 Gallon Oil Free Air Compressor
Porter Cable CFFC350A-1 3.0HP 4 Gallon Oil Free Air Compressor
Porter Cable CFFC350B 3.0HP 4.5 Gallon Oil Free Air Compressor
Porter Cable CFFC350B-1 3.0HP 4.5 Gallon Oil Free Air Compressor
Porter Cable CFFC350C-1 3.0HP 4 Gallon Oil Free Air Compressor
Porter Cable CFFR350A 3.0HP 4 Gallon Oil Free Air Compressor
Porter Cable CFFR350B 3.0HP 4.5 Gallon Oil Free Air Compressor
Porter Cable CFFR350B-1 3.0HP 4.5 Gallon Oil Free Air Compressor
Porter Cable CFFR350C-1 3.0HP 4 Gallon Oil Free Air Compressor
Porter Cable CPF23400P 3.0HP 4 Gallon Oil Free Air Compressor
Porter Cable CPF23400P-1 3.0HP 4 Gallon Oil Free Air Compressor
Porter Cable CPF23400P-2 3.0HP 4 Gallon Oil Free Air Compressor
Porter Cable CPF23400P-3 3.0HP 4 Gallon Oil Free Air Compressor
Porter Cable CPF23400S 3.0HP 4 Gallon Oil Free Air Compressor
Porter Cable CPF23400S-1 3.0HP 4 Gallon Oil Free Air Compressor
Porter Cable CPF23400S-2 3.0HP 4 Gallon Oil Free Air Compressor
Porter Cable CPF23400S-3 3.0HP 4 Gallon Oil Free Air Compressor
Porter Cable CPF23400S-4 3.0HP 4 Gallon Oil Free Air Compressor
Porter Cable CPF4515 4.5HP 15 Gallon Oil Free Air Compressor
Porter Cable CPF4515-1 4.5HP 15 Gallon Oil Free Air Compressor
Porter Cable CPF4515-2 4.5HP 15 Gallon Oil Free Air Compressor
Porter Cable CPF6020 6.0HP 20 Gallon Oil Free Air Compressor
Porter Cable CPF6020-1 6.0HP 20 Gallon Oil Free Air Compressor
Porter Cable CPF6020-2 6.0HP 20 Gallon Oil Free Air Compressor
Porter Cable CPF6020-WK 6.0HP 20 Gallon Oil Free Air Compressor
Porter Cable CPF6025VP 6.0HP 25 Gallon Oil Free Air Compressor
Porter Cable CPF6025VP 6.0HP 25 Gallon Oil Free Air Compressor
Porter Cable CPF6025VP-1 6.0HP 25 Gallon Oil Free Air Compressor
Porter Cable CPFC2TV3520W-2 3.5HP 20 Gallon Oil Free Air Compressor
Porter Cable CPFC2TV3525VP 3.5HP 25 Gallon Oil Free Air Compressor
Porter Cable CPFC2TV3525VP-1 3.5HP 25 Gallon Oil Free Air Compressor
Porter Cable CPFC2TV3525VP-2 3.5HP 25 Gallon Oil Free Air Compressor
Porter Cable CPFC2TV3525VP-3 3.5HP 25 Gallon Oil Free Air Compressor
Porter Cable CPFFC350 3.0HP 4 Gallon Oil Free Air Compressor
Porter Cable CPFFC350-1 3.0HP 4 Gallon Oil Free Air Compressor
Porter Cable CPFFR350-1 3.0HP 4 Gallon Oil Free Air Compressor
The following is a partial list of Sears Craftsman Portable Air Compressor model numbers that are using the KK-4835 Oil free connecting rod replacement kit. These Oil-Free Air Compressors were sold under the Sears Craftsman brand name and were sold by various stores including Home Depot, Lowes, Menards, Ace Hardware, Costco, Walmart, Sams Club, Sears, Carter Lumber, and other fine retailers throughout the country:
Sears Craftsman 919-154450 1.5HP 4 Gallon Air Compressor
Sears Craftsman 919-152920 4.0HP 20 Gallon Air Compressor
Sears Craftsman 919-163450 1.5HP 4 Gallon Air Compressor
Sears Craftsman 919-165000 5.0HP 25 Gallon Air Compressor
Sears Craftsman 919-165110 6.0HP 33 Gallon Air Compressor
Sears Craftsman 919-165120 5.0HP 20 Gallon Air Compressor
Sears Craftsman 919-165130 6.0HP 30 Gallon Air Compressor
Sears Craftsman 919-165180 5.5HP 25 Gallon Air Compressor
Sears Craftsman 919-165190 5.5HP 25 Gallon Air Compressor
Sears Craftsman 919-165230 5.5HP 25 Gallon Air Compressor
Sears Craftsman 919-165231 5.5HP 25 Gallon Air Compressor
Sears Craftsman 919-165510 6.0HP 30 G Gallon Air Compressor
Sears Craftsman 919-165511 6.0HP 30 G Gallon Air Compressor
Sears Craftsman 919-165520 6.0HP 33 G Gallon Air Compressor
Sears Craftsman 919-165521 6.0HP 33 Gallon Air Compressor
Sears Craftsman 919-165531 6.0HP 30 Gallon Air Compressor
Sears Craftsman 919-165541 6.0HP 33 Gallon Air Compressor
Sears Craftsman 919-165550 6.0HP 30 G Gallon Air Compressor
Sears Craftsman 919-165570 5/1.7HP 30 Gallon Air Compressor
Sears Craftsman 919-165580 5/1.7HP 33 Gallon Air Compressor
Sears Craftsman 919-167210 5.5HP 20 Gallon Air Compressor
Sears Craftsman 919-167211 5.5HP 20 Gallon Air Compressor
Sears Craftsman 919-167220 5.5HP 22 Gallon Air Compressor
Sears Craftsman 919-167221 5.5HP 22 Gallon Air Compressor
Sears Craftsman 919-167250 3.0HP 15 Gallon Air Compressor
Sears Craftsman 919-167280 120V Air Compressor
Sears Craftsman 919-167281 120V Air Compressor
Sears Craftsman 919-167301 6.0HP 30 Gallon Air Compressor
Sears Craftsman 919-167310 6.0HP 30 Gallon Air Compressor
Sears Craftsman 919-167311 6.0HP 30 Gallon Air Compressor
Sears Craftsman 919-167312 6.0HP 30 Gallon Air Compressor
Sears Craftsman 919-167320 Air Compressor
Sears Craftsman 919-167321 Air Compressor
Sears Craftsman 919-167330 6.0HP 33 Gallon Air Compressor
Sears Craftsman 919-167331 6.0HP 33 Gallon Air Compressor
Sears Craftsman 919-167340 6.0HP 33 Gallon Air Compressor
Sears Craftsman 919-167341 6.0HP 33 Gallon Air Compressor
Sears Craftsman 919-167342 6.0HP 33 Gallon Air Compressor
Sears Craftsman 919-167350 2.0HP 4 Gallon Air Compressor
Sears Craftsman 919-167360 3.0HP 4 Gallon Air Compressor
Sears Craftsman 919-167361 3.0HP 4 Gallon Air Compressor
Sears Craftsman 919-167450 2.0HP 4 Gallon Air Compressor
Sears Craftsman 919-167460 3.0HP 4 G Gallon Air Compressor
Sears Craftsman 919-167461 3.0HP 4 G Gallon Air Compressor
Sears Craftsman 919-167462 3.0HP 4 Gallon Air Compressor
Sears Craftsman 919-167463 3.0HP 4 Gallon Air Compressor
Sears Craftsman 919-167791 3.5HP 25 Gallon Air Compressor
Sears Craftsman 919-168700 6.0HP 33 Gallon Air Compressor
Sears Craftsman 919-168710 6.0HP 33 Gallon Air Compressor
Sears Craftsman 919-237540 2.0 HP 30 Gallon Air Compressor
Sears Craftsman 919-724300 6.0HP 30 Gallon Air Compressor
Sears Craftsman 919-724321 6.0HP 30 Gallon Air Compressor
Sears Craftsman 919-724322 6.0HP 30 Gallon Air Compressor
Sears Craftsman 919-724500 6.0HP 33 Gallon Air Compressor
Sears Craftsman 919-724580 3.0HP 4 Gallon Air Compressor
Sears Craftsman 919-724581 3.0HP 4 Gallon Air Compressor
Sears Craftsman 919-724582 3.0HP 4 Gallon Air Compressor
Sears Craftsman 919-724590 6.0HP 33 Gallon Air Compressor
Sears Craftsman 919-724591 6.0HP 33 Gallon Air Compressor
Sears Craftsman 919-727320 5.5HP 25 Gallon Air Compressor
Sears Craftsman 919-727321 5.5HP 25 Gallon Air Compressor
Sears Craftsman 919-727580 2.0HP 4 Gallon Air Compressor
Sears Craftsman 919-727591 6.0HP 33 Gallon Air Compressor
Sears Craftsman 919-727601 6.0HP 33 Gallon Air Compressor
Sears Craftsman 919-728501 3.5HP 20 Gallon Air Compressor
The following is a partial list of WW Grainger Speedaire Site Boss Portable Air Compressor model numbers that are using the KK-4835 Oil free connecting rod replacement kit. These Oil-Free Air Compressors were sold under the Speedaire Site Boss brand name and were sold by various stores including Home Depot, Lowes, Menards, Ace Hardware, Costco, Walmart, Sams Club, Sears, Carter Lumber, and other fine retailers throughout the country:
Speedaire Site Boss 1WC94 3.5HP 20 Gallon Air Compressor
Speedaire Site Boss 1WC94-1 3.5HP 20 Gallon Air Compressor
Speedaire Site Boss 1WC95 3.5HP 25 Gallon Air Compressor
Speedaire Site Boss 1WC95-1 3.5HP 25 Gallon Air Compressor
Speedaire Site Boss 1WC95-2 3.5HP 25 Gallon Air Compressor
Speedaire Site Boss 5Z598C 2.0 HP 3 Gallon Air Compressor
The following is a partial list of Westward Portable Air Compressor model numbers that are using the KK-4835 Oil free connecting rod replacement kit. These Oil-Free Air Compressors were sold under the Westward brand name and were sold by various stores including Home Depot, Lowes, Menards, Ace Hardware, Costco, Walmart, Sams Club, Sears, Carter Lumber, and other fine retailers throughout the country:
Westward 3JR71 6.0HP 20 Gallon Air Compressor
Westward 3JR71-1 6.0HP 20 Gallon Air Compressor
Westward 4UP72 6.0HP 25 Gallon Air Compressor
The following is a partial list of Delta Portable Air Compressor model numbers that are using the KK-4835 Oil free connecting rod replacement kit. These Oil-Free Air Compressors were sold under multiple brand names and by various stores including Home Depot, Lowes, Menards, Ace Hardware, Costco, Walmart, Sams Club, Sears, Carter Lumber, and other fine retailers throughout the country:
Delta 66-651 5.5HP 25 Gallon Air Compressor
Delta 66-651 1 5.5HP 25 Gallon Air Compressor
Accuspray 93-116 2.0HP 4 Gallon Oil Free Air Compressor
Accuspray 93-116-1 2.0HP 4 Gallon Oil Free Air Compressor
Accuspray 93-116-SW 2.0HP Gallon Oil Free Air Compressor
DeVilbiss Air Power AF2512 2.5 HP 12 Gallon Oil Free Air Compressor
DeVilbiss Air Power AF2520 2.5 HP 20 Gallon Oil Free Air Compressor
DeVilbiss Air Power AF320 3.0 HP 20 Gallon Oil Free Air Compressor
DeVilbiss Air Power AF3520 3.5 HP 20 Gallon Oil Free Air Compressor
DeVilbiss Air Power ACBF420 4.0HP 20 Gallon Oil Free Air Compressor
DeVilbiss Air Power ACBF420-1 4.0HP 20 Gallon Oil Free Air Compressor
DeVilbiss Air Power ACBF630 6.0HP 30 Gallon Oil Free Air Compressor
DeVilbiss Air Power ACBF630-1 6.0HP 30 Gallon Oil Free Air Compressor
DeVilbiss Air Power ACBF630-2 6.0HP 30 Gallon Oil Free Air Compressor
DeVilbiss Pro Air DAC-7128-2 .75HP 3 Gallon Oil Free Air Compressor
DeVilbiss Pro Air DAC-7128 .75HP 3 Gallon Oil Free Air Compressor
DeVilbiss Air America DF412 4.0HP 12 Gallon Oil Free Air Compressor
DeVilbiss Air America DF430 4.0HP 30 Gallon Oil Free Air Compressor
DeVilbiss Air America DF5020 5.0HP 20 Gallon Oil Free Air Compressor
DeVilbiss Air America DF5030 5.0HP 30 Gallon Oil Free Air Compressor
DeVilbiss Air America DF5030-1 5.0HP 30 Gallon Oil Free Air Compressor
Air America F10-1 1.0 HP Hand Carry Oil Free Air Compressor
Air America F18-2 1.0HP 8 Gallon Oil Free Air Compressor
Air America F18-3 1.0HP 8 Gallon Oil Free Air Compressor
Air America F18-4 1.0HP 8 Gallon Oil Free Air Compressor
Air America F14 1.0 HP 4 Gallon Oil Free Air Compressor
Air America F212 2.0 HP 12 Gallon Oil Free Air Compressor
Air America F220 2.0 HP 20 Gallon Oil Free Air Compressor
Air America F2512 2.5 HP 12 Gallon Oil Free Air Compressor
Air America F2520 2.5 HP 20 Gallon Oil Free Air Compressor
Air America F320 3.0HP 20 Gallon Oil Free Air Compressor
Air America F312-4 3.0HP 12 Gallon Oil Free Air Compressor
Air America F312-5 3.0HP 12 Gallon Oil Free Air Compressor
Air America F3520-1 3.5HP 20 Gallon Oil Free Air Compressor
Air America F3520-2 3.5HP 20 Gallon Oil Free Air Compressor
Air America F412-1 4.0HP 12 Gallon Oil Free Air Compressor
Air America F412-2 4.0HP 12 Gallon Oil Free Air Compressor
Air America F420 4.0HP 20 Gallon Oil Free Air Compressor
Air America F420-1 4.0HP 20 Gallon Oil Free Air Compressor
Air America F420-2 4.0HP 20 Gallon Oil Free Air Compressor
Air America F5020 5.0HP 20 Gallon Oil Free Air Compressor
Air America F5030 5.0HP 30 Gallon Oil Free Air Compressor
Air America F5030-1 5.0HP 30 Gallon Oil Free Air Compressor
Air America F5030V 5.0HP 30 Gallon Oil Free Air Compressor
DeVilbiss Charge Air Pro FB412 4.0HP 12 Gallon Oil Free Air Compressor
DeVilbiss Charge Air Pro FB412-1 4.0HP 12 Gallon Oil Free Air Compressor
DeVilbiss Charge Air Pro FB412-2 4.0HP 12 Gallon Oil Free Air Compressor
DeVilbiss Charge Air Pro FB4512 4.5HP 12 Gallon Oil Free Air Compressor
DeVilbiss Charge Air Pro FB5020 5.0HP 20 Gallon Oil Free Air Compressor
DeVilbiss Charge Air Pro FB5020-WK 5.0HP 20 Gallon Oil Free Air Compressor
DeVilbiss Charge Air Pro FB5020VP 5.0HP 20 Gallon Oil Free Air Compressor
DeVilbiss Charge Air Pro FB5020VP-1 5.0HP 20 Gallon Oil Free Air Compressor
DeVilbiss Charge Air Pro FB5020VP-2 5.0HP 20 Gallon Oil Free Air Compressor
DeVilbiss Charge Air Pro FB5520VP 5.5HP 20 Gallon Oil Free Air Compressor
DeVilbiss Charge Air Pro FB5520VP-WK 5.5HP 20 Gallon Oil Free Air Compressor
DeVilbiss Charge Air Pro FB5520VP-WK-1 5.5HP 20 Gallon Oil Free Air Compressor
DeVilbiss Charge Air Pro FB5525VP 5.5HP 25 Gallon Oil Free Air Compressor
DeVilbiss Charge Air Pro FB5525VP-1 5.5HP 25 Gallon Oil Free Air Compressor
DeVilbiss Charge Air Pro FB5530 5.5HP 30 Gallon Oil Free Air Compressor
DeVilbiss Charge Air Pro FB5530-1 5.5HP 30 Gallon Oil Free Air Compressor
DeVilbiss Charge Air Pro FIC100E3D 1.0HP 3 Gallon Oil Free Air Compressor
DeVilbiss Charge Air Pro FIC100E3D-1 1.0HP 3 Gallon Oil Free Air Compressor
DeVilbiss Charge Air Pro FIC100E3D-2 1.0HP 3 Gallon Oil Free Air Compressor
DeVilbiss Charge Air Pro FIFC420 4.0HP 20 Gallon Oil Free Air Compressor
DeVilbiss Charge Air Pro FIFC420-1 4.0HP 20 Gallon Oil Free Air Compressor
DeVilbiss Charge Air Pro GFC5020 5.0HP 20 Gallon Oil Free Air Compressor
DeVilbiss Impact Series HF412-WK-2 4.0HP 12 Gallon Oil Free Air Compressor
DeVilbiss Impact Series HF5030-WK 5.0HP 30 Gallon Oil Free Air Compressor
DeVilbiss Impact Series HF5030-WK-1 5.0HP 30 Gallon Oil Free Air Compressor
DeVilbiss Impact Series HF5030V 5.0HP 30 Gallon Oil Free Air Compressor
DeVilbiss Impact Series HFA5030V 5.0HP 30 Gallon Oil Free Air Compressor
DeVilbiss Impact Series HFB412 4.0HP 12 Gallon Oil Free Air Compressor
DeVilbiss Impact Series HFB412-1 4.0HP 12 Gallon Oil Free Air Compressor
DeVilbiss Impact Series HFB4512 4.5HP 12 Gallon Oil Free Air Compressor
DeVilbiss Impact Series HFB4512-WK 4.5HP 12 Gallon Oil Free Air Compressor
DeVilbiss Impact Series HFB5020VP 5.0HP 20 Gallon Oil Free Air Compressor
DeVilbiss Impact Series HFB5020VP-1 5.0HP 20 Gallon Oil Free Air Compressor
DeVilbiss Impact Series HFB5020VP-2 5.0HP 20 Gallon Oil Free Air Compressor
DeVilbiss Impact Series HFB5020VP-3 5.0HP 20 Gallon Oil Free Air Compressor
DeVilbiss Impact Series HFB6025VP 6.0HP 25 Gallon Oil Free Air Compressor
DeVilbiss Impact Series HFBC4512 4.5HP 12 Gallon Oil Free Air Compressor
DeVilbiss Impact Series HFBC4512-WK 4.5HP 12 Gallon Oil Free Air Compressor
DeVilbiss Impact Series HFB4512-WK 4.5HP 12 Gallon Oil Free Air Compressor
DeVilbiss Impact Series HFB5020VP 5.0HP 20 Gallon Oil Free Air Compressor
DeVilbiss Impact Series HFB5020VP-1 5.0HP 20 Gallon Oil Free Air Compressor
DeVilbiss Impact Series HFB5020VP-2 5.0HP 20 Gallon Oil Free Air Compressor
DeVilbiss Impact Series HFB5020VP-3 5.0HP 20 Gallon Oil Free Air Compressor
DeVilbiss Impact Series HFB6025VP 6.0HP 25 Gallon Oil Free Air Compressor
DeVilbiss Impact Series HFBC4512 4.5HP 12 Gallon Oil Free Air Compressor
DeVilbiss Impact Series HFBC4512-WK 4.5HP 12 Gallon Oil Free Air Compressor
Charge Air Pro IR100E8AD-1 1.0HP 8 Gallon Oil Free Air Compressor
Charge Air Pro IR100E8AD-2 1.0HP 8 Gallon Oil Free Air Compressor
Charge Air Pro IR100E8AD-3 1.0HP 8 Gallon Oil Free Air Compressor
Charge Air Pro IR100E8AD-2 1.0HP 8 Gallon Oil Free Air Compressor
Charge Air Pro IR200E14D 2.0 HP 14 Gallon Oil Free Air Compressor
Charge Air Pro IRC250E20D 2.5 HP 20 Gallon Oil Free Air Compressor
Charge Air Pro IRC350E20D 3.5 HP 20 Gallon Oil Free Air Compressor
Charge Air Pro IRF312-4 3.0HP 12 Gallon Oil Free Air Compressor
Charge Air Pro IRF312-5 3.0HP 12 Gallon Oil Free Air Compressor
Charge Air Pro IRF3520-1 3.5HP 20 Gallon Oil Free Air Compressor
Charge Air Pro IRF3520-2 3.5HP 20 Gallon Oil Free Air Compressor
Charge Air Pro IRF412-1 4.0HP 12 Gallon Oil Free Air Compressor
Charge Air Pro IRF412-2 4.0HP 12 Gallon Oil Free Air Compressor
Charge Air Pro IRF420 4.0HP 20 Gallon Oil Free Air Compressor
Charge Air Pro IRF420-1 4.0HP 20 Gallon Oil Free Air Compressor
Charge Air Pro IRF420-2 4.0HP 20 Gallon Oil Free Air Compressor
Charge Air Pro IRF5020 5.0HP 20 Gallon Oil Free Air Compressor
Charge Air Pro IRF5030 5.0HP 30 Gallon Oil Free Air Compressor
Charge Air Pro IRF5030-1 5.0HP 30 Gallon Oil Free Air Compressor
Charge Air Pro IRF5030V 5.0HP 30 Gallon Oil Free Air Compressor
Charge Air Pro IRFB412 4.0HP 12 Gallon Oil Free Air Compressor
Charge Air Pro IRFB412-1 4.0HP 12 Gallon Oil Free Air Compressor
Charge Air Pro IRFB4512 4.5HP 12 Gallon Oil Free Air Compressor
Charge Air Pro IRFB5020 5.0HP 20 Gallon Oil Free Air Compressor
Charge Air Pro IRFB5020-WK-1 5.0HP 20 Gallon Oil Free Air Compressor
Charge Air Pro IRFB5020VP 5.0HP 20 Gallon Oil Free Air Compressor
Charge Air Pro IRFB5020VP-1 5.0HP 20 Gallon Oil Free Air Compressor
Charge Air Pro IRFB5020VP-2 5.0HP 20 Gallon Oil Free Air Compressor
Charge Air Pro IRFB5021-WK 5.0HP 20 Gallon Oil Free Air Compressor
Charge Air Pro IRFBC4512 4.5HP 12 Gallon Oil Free Air Compressor
Charge Air Pro IRFC18-4 1.0HP 8 Gallon Oil Free Air Compressor
Charge Air Pro IRFC420 4.0HP 20 Gallon Oil Free Air Compressor
Charge Air Pro IRFC420- 1 4.0HP 20 Gallon Oil Free Air Compressor
Charge Air Pro IRFC5020 5.0HP 20 Gallon Oil Free Air Compressor
Ex-Cell EXF5020 5.0HP 20 Gallon Oil Free Air Compressor
Ex-Cell EXFB4025SV 4.0HP 25 Gallon Oil Free Air Compressor
Ex-Cell EXFBC5020VP-1 5.0HP 20 Gallon Oil Free Air Compressor
Ex-Cell EXFBC5020VP-2 5.0HP 20 Gallon Oil Free Air Compressor
Ex-Cell EXFBC5520VP 5.5HP 20 Gallon Oil Free Air Compressor
Ex-Cell EXFBC6020VP 6.0HP 20 Gallon Oil Free Air Compressor
Ex-Cell EXFBC6020VP-1 6.0HP 20 Gallon Oil Free Air Compressor
Ex-Cell EXFBC6025 6.0HP 25 Gallon Oil Free Air Compressor
Ex-Cell EXFBC6025-1 6.0HP 25 Gallon Oil Free Air Compressor
Ex-Cell EXFC5020 5.0HP 20 Gallon Oil Free Air Compressor
Ex-Cell EXFC5520 5.5HP 20 Gallon Oil Free Air Compressor
Mac Tools by DeWalt MAC1200-1 2.0HP 4 Gallon Oil Free Air Compressor
Mac Tools by DeWalt MAC1200-2 2.0HP 4 Gallon Oil Free Air Compressor
Mac Tools by DeWalt MAC2200-1 2.0HP 4 Gallon Oil Free Air Compressor
DeVilbiss Air Power Pro Air II PAF3520 3.5HP 20 Gallon Oil Free Air Compressor
DeVilbiss Air Power Pro Air II PAF3520-1 3.5HP 20 Gallon Oil Free Air Compressor
DeVilbiss Air Power Pro Air II PAF3530-2 3.5HP 30 Gallon Oil Free Air Compressor
DeVilbiss Air Power Pro Air II PAF430-1 4.0HP 30 Gallon Oil Free Air Compressor
DeVilbiss Air Power Pro Air II PAF430-2 4.0HP 30 Gallon Oil Free Air Compressor
DeVilbiss Air Power Pro Air II PAFB412 4.0HP 12 Gallon Oil Free Air Compressor
DeVilbiss Air Power Pro Air II PAFB412-1 4.0HP 12 Gallon Oil Free Air Compressor
DeVilbiss Air Power Pro Air II PAFB4512 4.5HP 12 Gallon Oil Free Air Compressor
DeVilbiss Air Power Pro Air II PAFB5020 5.0HP 20 Gallon Oil Free Air Compressor
DeVilbiss Air Power Pro Air II PAFB5020VP 5.0HP 20 Gallon Oil Free Air Compressor
DeVilbiss Air Power Pro Air II PAFB5020VP-1 5.0HP 20 Gallon Oil Free Air Compressor
DeVilbiss Air Power Pro Air II PAFB5020VP-2 5.0HP 20 Gallon Oil Free Air Compressor
DeVilbiss Air Power Pro Air II PAFB5025 5.0HP 25 Gallon Oil Free Air Compressor
DeVilbiss Air Power Pro Air II PAFBC4512 4.5HP 12 Gallon Oil Free Air Compressor
DeVilbiss Air Power Pro Air II PAFBC5025 5.0HP 25 Gallon Oil Free Air Compressor
DeVilbiss Air Power Pro Air II PAFBC6025VP 6.0HP 25 Gallon Oil Free Air Compressor
DeVilbiss Air Power Pro Air II PAFBC6025VP-1 6.0HP 25 Gallon Oil Free Air Compressor
DeVilbiss Air Power Pro Air II PAFC212 2.0HP 12 Gallon Oil Free Air Compressor
DeVilbiss Air Power Pro Air II PAFC3520-1 3.5HP 20 Gallon Oil Free Air Compressor
DeVilbiss Air Power Pro Air II PAFC3520-2 3.5HP 20 Gallon Oil Free Air Compressor
DeVilbiss Air Power Pro Air II PAFC430 4.0HP 30 Gallon Oil Free Air Compressor
DeVilbiss Air Power Pro Air II PAFC430-1 4.0HP 30 Gallon Oil Free Air Compressor
DeVilbiss Air Power Pro Air II PAFC5020 5.0HP 20 Gallon Oil Free Air Compressor
DeVilbiss Air Power Pro Air II PAFC5030 5.0HP 30 Gallon Oil Free Air Compressor
DeVilbiss Air Power Pro Air II PAFC5030-1 5.0HP 30 Gallon Oil Free Air Compressor
Contractor series 2by4 SF22X4 2.0HP 4 Gallon Oil Free Air Compressor
Contractor series 2by4 SF22X4-1 2.0HP 4 Gallon Oil Free Air Compressor
Contractor series 2by4 PF22X4 2.0HP 4 Gallon Oil Free Air Compressor
Pro Air Model PRF5020 5.0HP 20 Gallon Oil Free Air Compressor
Pro Air Model PRF5020-WK 5.0HP 20 Gallon Oil Free Air Compressor
Pro Air Model PRF5530 5.5HP 30 Gallon Oil Free Air Compressor
Pro Air Model PRFB5020VP 5.0HP 20 Gallon Oil Free Air Compressor
Pro Air Model PRFB5020VP-1 5.0HP 20 Gallon Oil Free Air Compressor
Pro Air Model PRFB5020VP-2 5.0HP 20 Gallon Oil Free Air Compressor
Pro Air Model PRFB5525VP 5.5HP 25 Gallon Oil Free Air Compressor
Pro Air Model PRFB5525VP-1 5.5HP 25 Gallon Oil Free Air Compressor
Pro Air Model PRFBC5020VP 5.0HP 20 Gallon Oil Free Air Compressor
Pro Air Model PRFBC5020VP-1 5.0HP 20 Gallon Oil Free Air Compressor
Pro Air Model PRFBC5020VP-2 5.0HP 20 Gallon Oil Free Air Compressor
Pro Air Model PRFBC5525VP 5.5HP 25 Gallon Oil Free Air Compressor
Pro Air Model PRFC5020 5.0HP 20 Gallon Oil Free Air Compressor
Pro Air Model PRFC5020-WK 5.0HP 20 Gallon Oil Free Air Compressor
Pro Air Model PRFC5530 5.5HP 30 Gallon Oil Free Air Compressor
Ingersoll Rand Pro 4000 RAC100E8AD-1 1.0HP 8 Gallon Oil Free Air Compressor
Ingersoll Rand Pro 4000 RAC100E8AD-2 1.0HP 8 Gallon Oil Free Air Compressor
Ingersoll Rand Pro 4000 RAC100E8AD-3 1.0HP 8 Gallon Oil Free Air Compressor
Ingersoll Rand Pro 4000 RA350E14AD 3.5HP 14 Gallon Oil Free Air Compressor
Ingersoll Rand Pro 4000 RA350E20AD 3.5HP 20 Gallon Oil Free Air Compressor
Ingersoll Rand Pro 4000 RAC350E20AD 3.5HP 20 Gallon Oil Free Air Compressor
Ingersoll Rand Pro 4000 RAC350E30AD 3.5HP 30 Gallon Oil Free Air Compressor
Ingersoll Rand Pro 4000 RAF3520-1 3.5HP 20 Gallon Oil Free Air Compressor
Ingersoll Rand Pro 4000 RAF3520-2 3.5HP 20 Gallon Oil Free Air Compressor
Ingersoll Rand Pro 4000 RAF3530-1 3.5HP 30 Gallon Oil Free Air Compressor
Ingersoll Rand Pro 4000 RAF3530-2 3.5HP 30 Gallon Oil Free Air Compressor
Ingersoll Rand Pro 4000 RAF412-2 4.0HP 12 Gallon Oil Free Air Compressor
Ingersoll Rand Pro 4000 RAF420 4.0HP 20 Gallon Oil Free Air Compressor
Ingersoll Rand Pro 4000 RAF420-1 4.0HP 20 Gallon Oil Free Air Compressor
Ingersoll Rand Pro 4000 RAF430-1 4.0HP 30 Gallon Oil Free Air Compressor
Ingersoll Rand Pro 4000 RAF430-2 4.0HP 30 Gallon Oil Free Air Compressor
Ingersoll Rand Pro 4000 RAF5020 5.0HP 20 Gallon Oil Free Air Compressor
Ingersoll Rand Pro 4000 RAF5030 5.0HP 30 Gallon Oil Free Air Compressor
Ingersoll Rand Pro 4000 RAF5030-1 5.0HP 30 Gallon Oil Free Air Compressor
Ingersoll Rand Pro 4000 RAF5030V 5.0HP 30 Gallon Oil Free Air Compressor
Ingersoll Rand Pro 4000 RAFB412 4.0HP 12 Gallon Oil Free Air Compressor
Ingersoll Rand Pro 4000 RAFB412-1 4.0HP 12 Gallon Oil Free Air Compressor
Ingersoll Rand Pro 4000 RAFB4512 4.5HP 12 Gallon Oil Free Air Compressor
Ingersoll Rand Pro 4000 RAFB5020 5.0HP 20 Gallon Oil Free Air Compressor
Ingersoll Rand Pro 4000 RAFB5020VP 5.0HP 20 Gallon Oil Free Air Compressor
Ingersoll Rand Pro 4000 RAFB5020VP-1 5.0HP 20 Gallon Oil Free Air Compressor
Ingersoll Rand Pro 4000 RAFB5020VP-2 5.0HP 20 Gallon Oil Free Air Compressor
Ingersoll Rand Pro 4000 RAFBC412 4.0HP 12 Gallon Oil Free Air Compressor
Ingersoll Rand Pro 4000 RAFBC4512-1 4.5HP 12 Gallon Oil Free Air Compressor
Ingersoll Rand Pro 4000 RAFC18-2 1.0HP 8 Gallon Oil Free Air Compressor
Ingersoll Rand Pro 4000 RAFC18-3 1.0HP 8 Gallon Oil Free Air Compressor
Ingersoll Rand Pro 4000 RAFC18-4 1.0HP 8 Gallon Oil Free Air Compressor
Ingersoll Rand Pro 4000 RAFC5020 5.0HP 20 Gallon Oil Free Air Compressor
Ingersoll Rand Pro 4000 SDS100E3D 1.0HP 3 Gallon Oil Free Air Compressor
Ingersoll Rand Pro 4000 SDS100E3D-1 1.0HP 3 Gallon Oil Free Air Compressor
Ingersoll Rand Pro 4000 SDS100E3D-2 1.0HP 3 Gallon Oil Free Air Compressor
Ingersoll Rand Pro 4000 SDS100E4D 1.0HP 4 Gallon Oil Free Air Compressor
Steel Driver Series SDS100E4D-1 1.0HP 4 Gallon Oil Free Air Compressor
Steel Driver Series SDS100E4D-2 1.0HP 4 Gallon Oil Free Air Compressor
Steel Driver Series SDS150E4STD 1.5HP 4 Gallon Oil Free Air Compressor
Steel Driver Series SDS150E4STD-1 1.5HP 4 Gallon Oil Free Air Compressor
Steel Driver Series SDS150E4STD-2 1.5HP 4 Gallon Oil Free Air Compressor
Steel Driver Series SDSC100E3D 1.0HP 3 Gallon Oil Free Air Compressor
Steel Driver Series SDSC100E3D-1 1.0HP 3 Gallon Oil Free Air Compressor
Steel Driver Series SDSC150E3D 1.5HP 3 Gallon Oil Free Air Compressor
Steel Driver Series SDSC150E4D 1.5HP 4 Gallon Oil Free Air Compressor
Steel Driver Series SDSC150E4D-1 1.5HP 4 Gallon Oil Free Air Compressor
Steel Driver Series SDSC150E4D-2 1.5HP 4 Gallon Oil Free Air Compressor
Steel Driver Series SDSC150E4STD 1.5HP 4 Gallon Oil Free Air Compressor
Steel Driver Series SDSC150E4STD-1 1.5HP 4 Gallon Oil Free Air Compressor
Steel Driver Series SDSC150E4STD-2 1.5HP 4 Gallon Oil Free Air Compressor
Steel Driver Series SDSC150E4TTD-3 1.5HP 4 Gallon Oil Free Air Compressor
Steel Driver Series SDSC2E4STD 2.0HP 4 Gallon Oil Free Air Compressor
Steel Driver Series SDSC2E4STD-1 2.0HP 4 Gallon Oil Free Air Compressor
Steel Driver Series SDSC2E4STD-2 2.0HP 4 Gallon Oil Free Air Compressor
Superior Fasteners SFC22X4 2.0HP 4 Gallon Oil Free Air Compressor
Superior Fasteners SFC100E3D 1.0HP 3 Gallon Oil Free Air Compressor
Superior Fasteners SFC100E3D-1 1.0HP 3 Gallon Oil Free Air Compressor
Superior Fasteners SFFC420 4.0HP 20 Gallon Oil Free Air Compressor
Superior Fasteners SFFC420-1 4.0HP 20 Gallon Oil Free Air Compressor
Ingersoll Rand T1061PE100-P 1.0HP Hand Carry Oil Free Air Compressor